试验概述:
毛细管流变仪通俗的讲是一种相对更高级的熔体流动速率测试仪,一般的熔体流动速率测试仪只能测试固定载荷和特定温度下材料的流动性,而毛细管流变仪可以测量不同剪切速率、不同载荷下的熔体流变性。
试验目的:
高分子材料流动性或流变性测试的目的主要为:
①了解材料的组分结构对加工流动性的影响,优化材料性能设计;
②研究加工成型过程中的温度、压力、速率从而确定成型工艺参数;
③通过反复试验获得材料黏弹性变化与材料组分结构之间的内在联系,获得优级本构方程。
试验优点:
毛细管流变仪是目前发展最成熟、应用最广泛的流变测量设备,具有操作简单、压力范围宽,适用性广等特点。

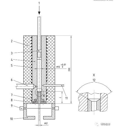
工作原理:
将物料填充在料筒中待温度稳定后,物料在料筒中被加热熔融,并在外力作用下发生混合、变形和流动,以一定的速率或以一定规律变化的速率把物料从毛细管口模中挤出。在挤出的过程中,可以测量出毛细管口模入口处的压力,再结合已知的速度参数、口模和料桶参数、以及流变学模型,从而计算不同剪切速率下熔体的剪切粘度。典型毛细管流变仪结构原理见下图:

试验应用:
毛细管模法测熔体流变仪主要是为了获取或解决一下问题:
1)测定高分子材料在毛细管中的剪切应力和剪切速率的关系;
2)根据挤出物的直径和外观,通过调整毛细管的长径比来研究熔体的弹性和熔体破裂等不稳定流动现象;
3)确定和优化成型工艺参数。
方法选择:
A1——规定试验压力p,测定体积流动速率Q;
A2——规定体积流动速率Q,测定试验压力p.
样品要求:100g,细小颗粒料
仪器设备:高压毛细管流变仪 Rosand RH7
仪器参数:
①最大载荷50kN;
②最大速率 600mm/min;
③速率精度:<0.1%
④动态速率范围:>225000:1;
⑤试验温度:室温~500℃;
⑥控温精度:<±0.1℃;
⑦毛细管模:孔径1mm,长度16mm,长径比16,入口角90°和180°
检测仪器:

典型图片:

参考标准:
GB/T 25278-2010 塑料 用毛细管和狭缝口模流变仪测定塑料的流动性;
ISO 11443-2014 塑料-毛细管和狭缝模流流变仪测定塑料的流动特性;
ASTM D3835-16 塑料-毛细管和狭缝模流流变仪测定塑料的流动特性;